ターピー耐候性大型土のう
ターピー耐候性大型土のう300KT 3年対応
- 特長
- ❶ 軽量で自立性が高いため取り扱いやすい
❷ 設計・施工マニュアルに適合した優れた耐久性
❸ 原糸から製袋までの一貫生産による安定した品質
❹3年耐候製品※新基準適合 - 用途
- 土木工事・災害復旧現場用の土塁として、長期の使用に適しています。
- 材質
- 袋本体:ポリプロピレン(本体、ベルト)、ポリエステル(縫い糸)
- カラー
- ブラック
- 原産地
- 中国
製品資料ダウンロード

ターピー耐候性大型土のう【J-Bag300KT】
「耐候性大型土のう積層工法」設計・施工マニュアル【第2回改訂版令和5年5月】の基準に適合
製品仕様
ターピー耐候性大型土のう特徴について

❶ 軽量で自立性が高いため取り扱いやすい
➋設計・施工マニュアルに適合した優れた耐久性
❸原糸から製袋までの一貫生産による安定した品質
❹3年耐候製品※新基準適合
新基準適合大型土のうです。「耐候性大型土のう積層工法」設計・施工マニュアル「第2回改訂令和5年5月」の基準に適合。

適用工事(「耐候性大型土のう」設置ガイドラインより引用)
❶ 耐用年数3年未満の仮設構造物の設計・施工に適用する
❷ 決壊防止工事等流水の影響を受ける工事
❸ その他家屋や道路に接するなど高い防護効果を必要とし
「耐候性大型土のう」の使用が適当と認められる工事

注意事項
①吊り上げは、片吊りにならないようにしてください。
②荷重が吊り部に均等に掛かるようにしてください。
③吊り上げは、スリングベルトを使用してください。
④未使用の製品で長期保管は、直接日光が当たらないように屋内で保管してください。
⑤中詰め材の性質によって本製品の耐久性が低下する恐れがあります。
⑥本製品は土のうとして使用するものであり、フレキシブルコンテナではありません。

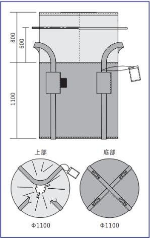
製品情報
| 本体(m) | 注入口(m) | 容量 | 最大充填質量 | 入り数(枚) | JANコード |
| 1.1Φ×1.1H |
1.1Φ×0.8
|
1㎥
|
2,000kg(2t)
|
5 |
4962074018878
|
梱包入数は旧仕様の10袋から5袋へ変更となりました






